Ihre Browserversion ist veraltet. Wir empfehlen, Ihren Browser auf die neueste Version zu aktualisieren.

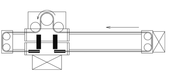
Zahnriemen-Achse Flaschenzug mit i=2

 

Lineare Bewegungen werden im Maschinenbau häufig mit Zahnriemen-Achsen realisiert. Interessant ist, daß sehr viele Applikationen bei der Antriebsauslegung ein zweistufiges Getriebe erforderlich machen. Die Ergebnisse für die Getriebe-Übersetzung liegen in der Regel zwischen 10 und 30.

 

Zahnriemen-Achse Flaschenzug mit i=2Zahnriemen-Achse Flaschenzug mit i=2

 

Zwei Hauptmerkmale der Zahnriemen-Flaschenzug-Mechanik ändern die Vorrausetzungen der Komponentenauswahl:

  • Kraft im Riemen halbiert
  • Vorschubkonstante [mm/Umdrehung] halbiert

Damit ergeben sich folgende Argumente:

  • geringere Riemenbreite
  • kleinere Scheibendurchmesser möglich -> reduziert zusätzlich die Vorschubkonstante
  • einstufige Getriebe (Kosten & Baulänge)
  • geringeres Getriebespiel
  • Positionsfehler infolge Getriebespiel wird zusätzlich halbiert
  • Dehnung infolge Elastizität bei Belastung kleiner (bei gleicher Riemenbreite):  Riemenlänge wächst nur Faktor 3/2 während Kraft halbiert

 

Weiterer Link zum Thema:

BAHR MODULTECHNIK ELFZ-Serie

 

Bahr-Modultechnik ELFZ-SerieBahr-Modultechnik ELFZ-Serie

 

Bildquelle: BAHR MODULTECHNIK ELFZ

24.05.2020 Roland Fetzner